Annonce

Réduire
Aucune annonce.

Pédale d'embrayage

Réduire
X
 
  • Filtre
  • Heure
  • Afficher
Tout nettoyer
nouveaux messages

  • Pédale d'embrayage

    Salut,
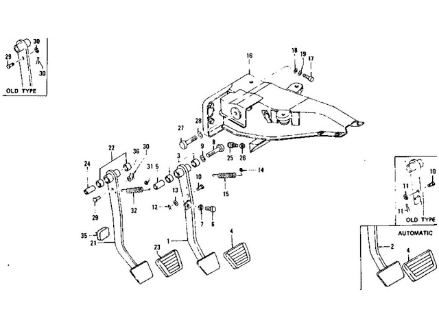
    J'ai un petit claquement sur ma pédale d’embrayage, j'ai l'impression que la pièce N°22 sur le plan joint est usée.
    Avez-vous déjà changé cette pièce?

    La pièce est commune de la 240Z à la 200SX.

    http://www.ebay.com/itm/Datsun-240Z-...62392d&vxp=mtr

    Merci
    Benoit
    Fichiers attachés
    280Z et 240Z.

  • #2
    Si la pièce est usée, à voir la portée sur la pédale aussi

    Question idiote:
    Tu as vérifié que le Mastervac et maître cylindre ne sont pas desserrés?
    ========================================
    D'un Z qui veut dire...

    Commentaire


    • #3
      Envoyé par datsun240z Voir le message
      Si la pièce est usée, à voir la portée sur la pédale aussi

      Question idiote:
      Tu as vérifié que le Mastervac et maître cylindre ne sont pas desserrés?
      salut
      oui j ai verifie, je te montre le 21 si tu viens a montigny?
      b
      280Z et 240Z.

      Commentaire

      Chargement...
      X